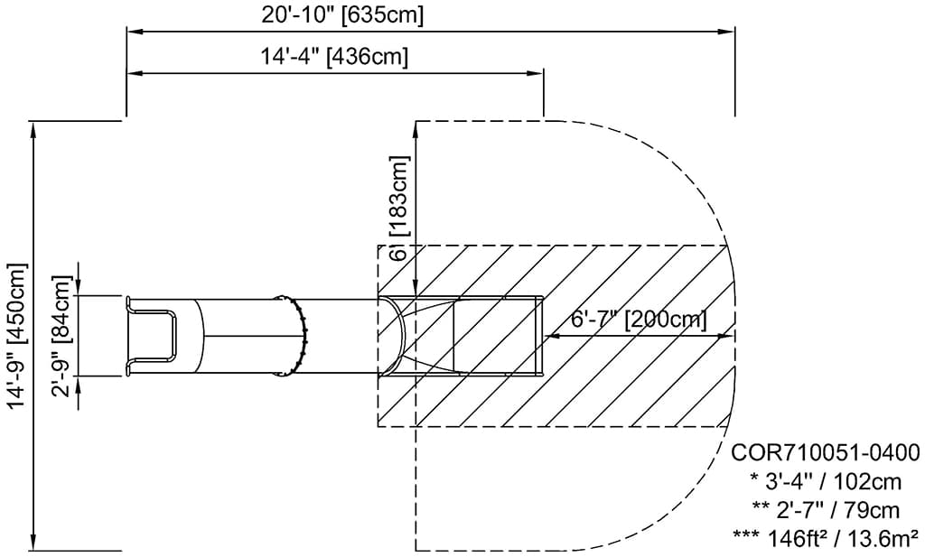
Tube slide
Physical
sliding develops spatial awareness and a sense of balance. Furthermore, the core muscles are trained when sitting upright going down.
Social-Emotional
thrill when going down fast. Empathy stimulated by turn-taking.
Cognitive
young children train their understanding of space, speed and distances when sliding down quickly.















