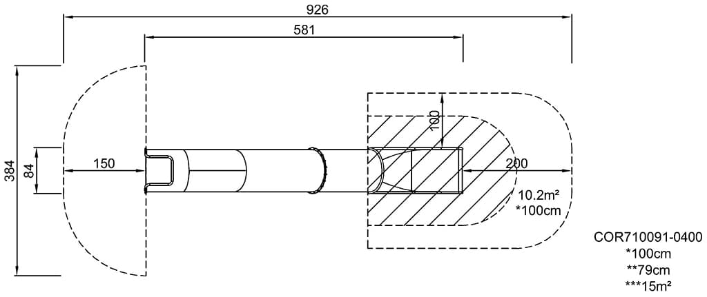
Tube slide
Physical
develops spatial awareness, sense of balance and trains core muscles when sitting upright going down.
Social-Emotional
thrill when going down fast. Empathy stimulated by turn-taking.
Cognitive
young children train their understanding of space, speed and distances when sliding down.















