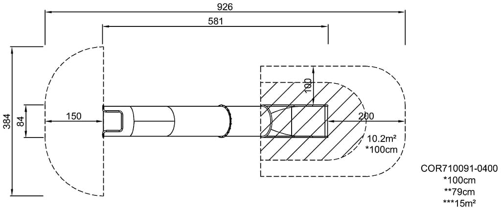
Tunnelglijbaan
Fysiek
glijden stimuleert de ontwikkeling van ruimtebesef en evenwichtsgevoel. Zittend naar beneden glijden, traint de rompspieren.
Sociaal-Emotioneel
spannend en leuk om snel naar beneden te glijden. Om beurten gaan stimuleert de ontwikkeling van empathisch vermogen.
Cognitief
snel glijden vergroot het begrip van ruimte, snelheid en afstanden bij jonge kinderen.













