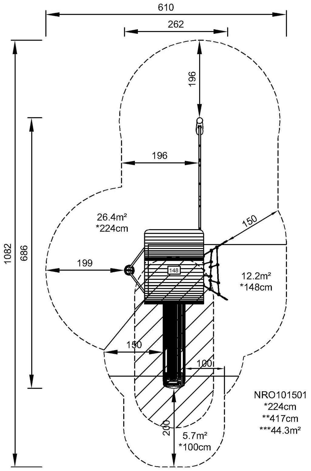
Vertical spider net
Physical
supports cross coordination, cooperation of left and right brain half. Strengthens core, arm and leg muscles.
Social-Emotional
supports social abilities such as cooperation and communication when letting others cross the net.















