Ladder
Physical
cross coordination and muscle strength are developed when children climb the ladder. The climbing also supports leg and arm muscles.
COR17200
Mega Frisbee
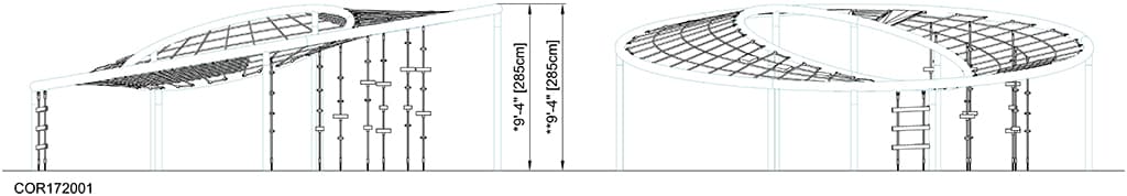
The Mega Frisbee is an awesome stand out piece for any playground. It sets new play standards with its unique, curved form and rich variety of climbing. It will attract children and families to return to play, again and again. On top of the Mega Frisbee there is ample room for socializing and exchange – or just for enjoying the view. Climbing to the top is great fun and stimulates important social-emotional skills such as courage and self regulation. The transparency of the nets can create a stomach-tickling feeling of height. The swaying ropes on ground level offer a way of climbing, sitting and socializing on ground level also – an asset for younger users. These varied climbing activities train muscle strength and motor skills: cross-body coordination, proprioception and spatial awareness. These positively affect spacial awareness for example children's ability to judge distances, which is crucial in navigating traffic.
The products might not be exactly as shown
Play value is the value gained from play, the value that makes the child “want” or developmentally “need” to undertake the activity and thus gives the play item holding power. Play value can be described very precisely in developmental terms, looking into the human physical, cognitive, social and emotional developmental stages.


Length
814 cm
Width
825 cm
Height
285 cm
The Mega Frisbee is an awesome stand out piece for any playground. It sets new play standards with its unique, curved form and rich variety of climbing. It will attract children and families to return to play, again and again. On top of the Mega Frisbee there is ample room for socializing and exchange – or just for enjoying the view. Climbing to the top is great fun and stimulates important social-emotional skills such as courage and self regulation. The transparency of the nets can create a stomach-tickling feeling of height. The swaying ropes on ground level offer a way of climbing, sitting and socializing on ground level also – an asset for younger users. These varied climbing activities train muscle strength and motor skills: cross-body coordination, proprioception and spatial awareness. These positively affect spacial awareness for example children's ability to judge distances, which is crucial in navigating traffic.
This product, Mega Frisbee (COR17200), is provided by KOMPAN Canada.
Ropes of UV-stabilized PES rope strands with inner steel cable reinforcement. The polyester yarn is made from +95% post-consumer materials and is inductively melted onto each strand. The ropes are highly wear-and vandalism-resistant and can be replaced at site if needed.
Corocord 'S' clamps are used as universal connections in Corocord products. 8mm stainless steel rods with rounded edges are pressed around the ropes with a special hydraulic press, making them the ideal connector: safe, durable and vandalism-proof, all while allowing the typical movement of rope play structures.
The metal parts are made of high quality steel, hot dip galvanised inside and outside with leadfree zinc. On the outside, there is an additional layer of powder coating. This ensures both excellent corrosion resistance and colourful design expression.
Corocord membranes consist of friction-proof rubberized material of conveyor belt quality with excellent UV resistance. Tested and compliant with REACH requirements for PAH. Embedded is a four-layered armouring made of woven polyester. The armouring and the two surface layers result in a total thickness of 7.5 mm.
Fully coloured EPDM rubber discs with smooth surface. The moulded EPDM surrounds a hot dip galvanised steel core that ensures both the stability of the discs and durable fixation to the rope.
The aluminium swages of the net are double conical with rounded ends and are as small as safety allows. The overall net design aims at keeping metal parts within the net to an absolute minimum, both in size and number, in order to provide the best possible rope climbing experience.
CO₂ emission
Sustainability Data
Our product and sustainability data validation help customers make informed sustainable buying choices based on methods validated by Bureau Veritas.
COR172001-1102
9101.88
Total CO₂ emission (kg CO₂e)
4.43
CO₂e/kg (kg CO₂e/kg)
48.59%
Recycled materials
The overall framework applied for these factors is the Environmental Product Declaration (EPD), which quantifies "environmental information on the life cycle of a product and enables comparisons between products fulfilling the same function" (ISO, 2006). This follows the structure and applies a Life-Cycle Assessment approach to the entire Product stage from raw material through manufacturing (A1-A3).

TENDER TEXT SPECIFICATIONS
Do you want to include this specific product in your project, and are you looking for detailed material information to help you specify? We have all the documentation you need. Fill out this form, and we will contact you with the relevant information you need.
If you have any questions regarding this specific product or your project, we are here to help!